中移动6月净增5G用户1459万户 用户总数减少24万
2020-07-22
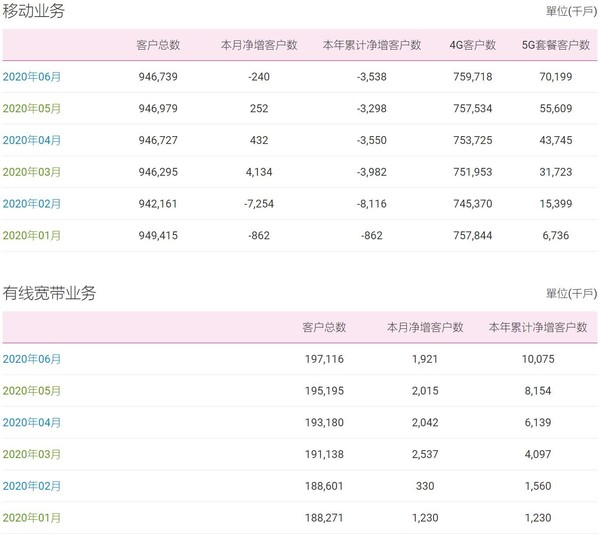
【CNMO新闻】7019.9万、7.59718亿、9.46739亿……7月20日,中国移动公布2020年6月份运营数据。数据显示,截至2020年6月,中国移动5G套餐用户累计达7019.9万户,4G套餐客户数达7.59718亿户,用户总数达9.46739亿户。
相比5月数据,中国移动6月净增5G套餐客户数1459万户,净增4G套餐用户数218.4万户。但在用户总数上,移动较上月减少用户数24万户。有线宽带方面,中国移动有线客户总数达到1.97116亿户,当月净增客户数192.1万户。
从以上数据中可以看到,移动5G套餐用户数量呈增长态势,但占比依然较小。大多数移动用户依然使用4G套餐,且4G套餐用户数量仍在增长。值得一提的是,移动6月总用户数略有下滑,这或许与之前推出的“携号转网”服务有关。
据中国信通院公布的资料,6月全国(三大运营商)办理“携号转网”服务用户超过120万;截至7月17日,办理“携号转网”服务累计用户量超过1000万。此前工信部曾公布“携号转网”相关信息:截止去年11月26日,中国移动转出的用户最多。
本文原创地址:http://nicaikj.com/article-1276.html


